AtomInfo.Ru


Патент Вестингауза на электрохимический метод получения нитрида урана из гексафторида урана

AtomInfo.Ru, ОПУБЛИКОВАНО 20.07.2021

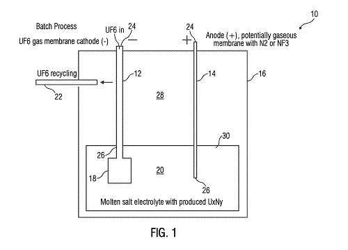
Новый патент американской компании "Westinghouse" (WO2021050388) описывает электрохимический метод получения нитрида урана из гексафторида урана.

Щёлкните левой клавишей мыши для просмотра

Получение нитрида урана UN происходит в два этапа:

UF6 ⇒ промежуточный продукт ⇒ UN

На первом этапе гексафторид урана химическим путём преобразуется в UxNy, где x - целое число от 1 до 3, y - целое число от 1 до 2.

Восстановление урана из гексафторида происходит вблизи или непосредственно на поверхности мембранного электрода (gaseous membrane electrode, на рисунке - 18), находящегося в контакте с азотсодержащей солью.

На втором этапе UxNy разлагается на UN и газообразный N2, после чего нитрид урана удаляется для последующей обработки.

Ключевые слова: Материалы, Нитридное топливо, Вестингауз


Другие новости:

Планируемая в США станция с реакторами "NuScale" сокращена с 12 до 6 модулей

Обязательства сейчас есть менее чем на два модуля.

Китай продолжает программу ториевых ЖСР

Строительные работы на демонстрационном реакторе закончатся в августе.

АЭС "Белене" - позиция Булатома

Болгарский атомный форум "Булатом" опубликовал свою точку зрения на целесообразность строительства в Болгарии двухблочной АЭС "Белене".


Герой дня

Комплекс стендов БФС - работы хватает

Комплекс стендов БФС - работы хватает

Комплекс быстрых физических стендов БФС-1 и БФС-2 - это уникальная экспериментальная база, предназначенная для исследования физики реакторов. На комплексе подходит к концу масштабная модернизация, стенд БФС-1 уже в строю, а в ближайшее время к нему присоединится БФС-2.



ИНТЕРВЬЮ

Чжан Цзяньхуа

Чжан Цзяньхуа
Медицинские радиоизотопы являются материальной основой ядерной медицины для диагностики и лечения. С экономическим и социальным развитием требования к уровню здоровья людей становятся всё выше и выше, а спрос на медицинские радиоизотопы будет всё больше и больше.


МНЕНИЕ

Алексей Ланкевич

Алексей Ланкевич
Положительный опыт, а также сильное желание опередить русских и англичан привели к решительной поддержке в США крупномасштабного демонстрационного реактора с водяным охлаждением. В качестве такого реактора был выбран реактор-прототип для авианосца.


Поиск по сайту: