AtomInfo.Ru


Китай - от HTR-PM к HTR-PM600

AtomInfo.Ru, ОПУБЛИКОВАНО 29.11.2020

Очередная, 64-ая сессия генеральной конференции МАГАТЭ из-за коронавирусных ограничений прошла в 2020 году в сокращённом формате. Тем не менее, в рамках сессии был организован ряд мероприятий и семинаров в онлайн-режиме.

На одном из таких семинаров, посвящённом вопросам развития технологии малых модульных реакторов, о реализуемом в Китае проекте по строительству высокотемпературного реактора HTR-PM рассказал профессор Ли Фу (Li Fu) из института INET, входящего в состав университета Цинхуа.

Китайский взгляд на ВТГР

Высокотемпературные реакторы в Китае рассматриваются как дополнение к программе по строительству блоков-легководников.

Они могут выступать и как электрогенераторы, заменяя, в частности, угольные станции в густонаселённых регионах, и как поставщики нагретого пара, который, в свою очередь, может быть востребован промышленностью (а это в Китае очень ёмкий рынок).

Ещё одно напрашивающееся применение высокотемпературных аппаратов - включение их в комплексы по производству водорода.

Профессор Ли Фу обратил также внимание на то обстоятельство, что высокотемпературные реакторы относятся к разряду инновационных технологий. Он добавил, что на сегодняшний день в Китае сформирована цепочка поставщиков для реакторов типа ВТГР.

Именно на высокотемпературные газоохлаждаемые реакторы (ВТГР) с шаровыми твэлами китайские атомщики делают ставку в стремлении достичь высоких выходных температур на АЭС. Причём они не скрывают, что используют в своей деятельности те возможности, которые предоставляет международное сотрудничество.

НИОКР по направлению ВТГР начались в Китае в 70-ые годы. Следующим шагом стало проектирование и строительство исследовательского реактора HTR-10, за которым последовал демонстрационный энергоблок HTR-PM, чьё строительство находится на завершающей стадии.

На коммерческий уровень направление должно выйти в Китае с помощью нового проекта HTR-PM600.

Этапы развития программы ВТГР в Китае.
Щёлкните левой клавишей мыши для просмотра.

Демонстрационный проект HTR-PM

Демонстрационный блок с реакторами HTR-PM строится на площадке "Shidao Bay" (провинция Шаньдун) с декабря 2012 года. Аббревиатура PM в его названии расшифровывается как "pebble bed module".

Проект по созданию HTR-PM получал государственную поддержку на стадии НИОКР. Также он был включён в список китайских общенациональных ключевых проектов в сфере науки и технологии. После пуска блок с HTR-PM будет работать на коммерческой основе.

Щёлкните левой клавишей мыши для просмотра

В реализации проекта по разработке и строительству HTR-PM принимают участие многочисленные китайские организации и компании. Правительственные ведомства отвечают за общую координацию работ.

Владельцем блока с HTR-PM является компания HSNPC (создана в 2006 году). Генподрядчиком для ядерного острова выступает компания "Chinergy Co." (создана в 2003 году). Роль института INET - проведение НИОКР, общее проектирование, конструирование основных узлов ядерного острова.

Щёлкните левой клавишей мыши для просмотра

История проекта

Далее докладчик обратился к истории проекта и напомнил основные ключевые события его разработки.

В 2003 году был завершён pre-concept design (возможно, аналог обликового проекта) и принято решение о применении парового цикла.

В 2004 году было подписано соглашение об инвестициях для строительства демонстрационного блока.

Тогда же специалисты INET приступили к разработке проекта ВТГР мощностью 458 МВт(т).

В январе 2006 года работы получили статус общенационального проекта в сфере науки и технологии.

В сентябре 2006 года было принято важное решение по составу блока. Было определено, что на блоке будут установлены два реактора мощностью 250 МВт(т) каждый, соединённые с общей турбиной на 200 МВт(э). На каждый реактор в таком варианте приходится по одному собственному парогенератору.

В феврале 2008 года правительство КНР одобрило предложение о строительстве демонстрационного блока с двумя реакторами HTR-PM.

В октябре 2008 года были заключены контракты на изготовление основного оборудования демонстрационного блока.

В период с апреля 2008 года по сентябрь 2009 года прошло рассмотрение надзорными органами предварительного отчёта по безопасности (PSAR).

9 декабря 2012 года - дата первого бетона.

Основные параметры HTR-PM.
Щёлкните левой клавишей мыши для просмотра.

История строительства

Профессор Ли Фу перечислил даты основных ключевых событий на строительстве демонстрационного блока с HTR-PM.

9 декабря 2012 года - первый бетон.

30 июня 2015 года - завершение строительства реакторного здания.

Декабрь 2015 года - установлен полномасштабный тренажёр.

20 марта 2016 года - установлен в проектное положение корпус первого реактора.

Август 2016 года - начало изготовления топлива.

Сентябрь 2016 года - установлен в проектное положение корпус второго реактора.

Апрель 2019 года - установлен в проектное положение парогенератор первой реакторной установки.

Июль 2019 года - установлен в проектное положение парогенератор второй реакторной установки.

В марте 2020 года были завершены работы по формированию первых контуров (соединению основного оборудования).

Щёлкните левой клавишей мыши для просмотра

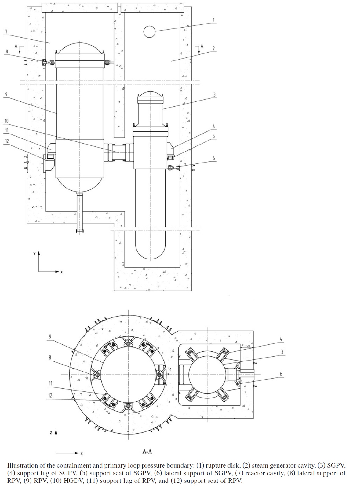
Основное оборудование первого контура включает в себя корпус реактора RPV, парогенератор SGPV и корпус горячего газа (hot gas duct vessel, HGDV). Подробнее - см. рисунок ниже по тексту (Li, Xiaotian & Li, Xiaowei & Shi, Li & Zhang, Zhengming & He, Shuyan. (2011). Safety analysis for hot gas duct vessel in HTR-PM. Nuclear Technology. 174. 29-40. 10.13182/NT11-A11677).

Щёлкните левой клавишей мыши для просмотра

Пусконаладочные работы

В настоящее время работы по строительству демонстрационного блока вступили на этап пуско-наладки.

Докладчик привёл даты основных состоявшихся ключевых событий, а также назвал планируемые сроки для дальнейших операций.

Так, в 2021 году на блоке ожидается загрузка топлива в оба реактора, вывод их на МКУ, работа блока на малых мощностях. Выход на номинал и коммерческая эксплуатация блока запланированы на 2022 год.

Щёлкните левой клавишей мыши для просмотра

Дальнейшее развитие

В проекте HTR-PM был использован ряд технических решений, принятых в исследовательском реакторе HTR-10. В свою очередь, решения из проекта HTR-PM войдут в новый, разрабатываемый в Китае проект коммерческого ВТГР, получивший название HTR-PM600.

Докладчик продемонстрировал упрощённую тепловую схему двухреакторного блока с HTR-PM. В новом проекте HTR-PM600 на одну турбину предполагается подключить шесть реакторных установок, сохранив при этом общий подход, принятый в HTR-PM - те же свойства безопасности, такие же основные компоненты, такие же параметры первого контура, и так далее.

Упрощённая тепловая схема HTR-PM.
Щёлкните левой клавишей мыши для просмотра.

За годы разработок HTR-PM в Китае была создана мощная стендовая экспериментальная база для исследования и испытаний различных компонентов высокотемпературных реакторов.

Эту базу китайские атомщики намерены сохранить и в полной мере задействовать при разработке HTR-PM600.

Список экспериментальных стендов для ВТГР в Китае.
Щёлкните левой клавишей мыши для просмотра.

Важным достижением проекта по созданию HTR-PM стало формирование в Китае цепочки поставщиков оборудования для высокотемпературных реакторов.

Большая часть оборудования для демонстрационного блока была изготовлена китайскими предприятиями, хотя некоторое оборудование было импортировано. Возможности созданной цепочки будут, несомненно, задействованы при строительстве коммерческих блоков с HTR-PM600.

Щёлкните левой клавишей мыши для просмотра

Коммерческий энергоблок HTR-PM600 должен выигрывать у демонстрационного проекта HTR-PM по экономике.

Достичь этого китайские атомщики планируют не только за счёт серийного строительства, но и путём оптимизации проекта на основе полученного опыта и перехода к новой компоновке, которая позволит значительно сократить объёмы зданий, имеющих максимальную степень защиты по сейсмостойкости.

Также в HTR-PM600 предполагается поднять температуру второго контура и перейти в нём на сверхкритические параметры. Это важно с точки зрения применения HTR-PM600 для производства водорода.

В настоящее время завершены работы по созданию "стандартного проекта" HTR-PM600, но говорить о каких-либо конкретных сроках его строительства пока рано.

Очевидно, что в Китае предпочтут дождаться пуска HTR-PM, а также ещё раз внимательно проанализировать ход работ по изготовлению оборудования для HTR-PM - докладчик подтвердил, что на первых порах изготовители сталкивались с трудностями.

Основные параметры HTR-PM600.
Щёлкните левой клавишей мыши для просмотра.

Ключевые слова: ВТГР, Азия, Китай, Статьи


Другие новости:

Специалисты инжинирингового дивизиона Росатома испытали промышленные экзоскелеты в условиях стройки

После доработки экзоскелеты пройдут длительные испытания на строительстве АЭС "Руппур".

На энергоблоке №1 Белорусской АЭС начался этап выхода на проектную мощность

ОПЭ начнётся в конце ноября - начале декабря.

В мире статус действующего имеют 443 блока, статус строящегося 53 блока - PRIS

Учтено начало строительства блока "Taipingling-2" с "Драконом" от CGN.

Герой дня

Блок №5 АЭС Fuqing в сети

Блок №5 АЭС Fuqing в сети

Это первый в Китае и мире пущенный энергоблок с реактором HPR-1000, или "Hualong One".



ИНТЕРВЬЮ

Юрий Стребков

Юрий Стребков
Понимаю я так - термоядерное направление в НИКИЭТ развивается с первой половины 70-х годов. Старшие коллеги упоминали, что в те времена Николай Антонович Доллежаль приезжал на совещания в Курчатовский институт, где обсуждалось наше участие в термоядерных проектах.


МНЕНИЕ

AtomInfo.Ru

AtomInfo.Ru
По состоянию на конец октября 2020 года, о выходе из проекта по строительству в США АЭС с 12 модулями "NuScale720" заявило уже семь муниципалитетов и муниципальных компаний.


Поиск по сайту: