AtomInfo.Ru


Westinghouse - первый 3D-опыт

AtomInfo.Ru, ОПУБЛИКОВАНО 09.05.2020

Первый элемент оборудования для работы с ядерным топливом, напечатанный на 3D-принтере, установлен на блоке №1 АЭС "Byron" (США), сообщили в компании "Westinghouse".

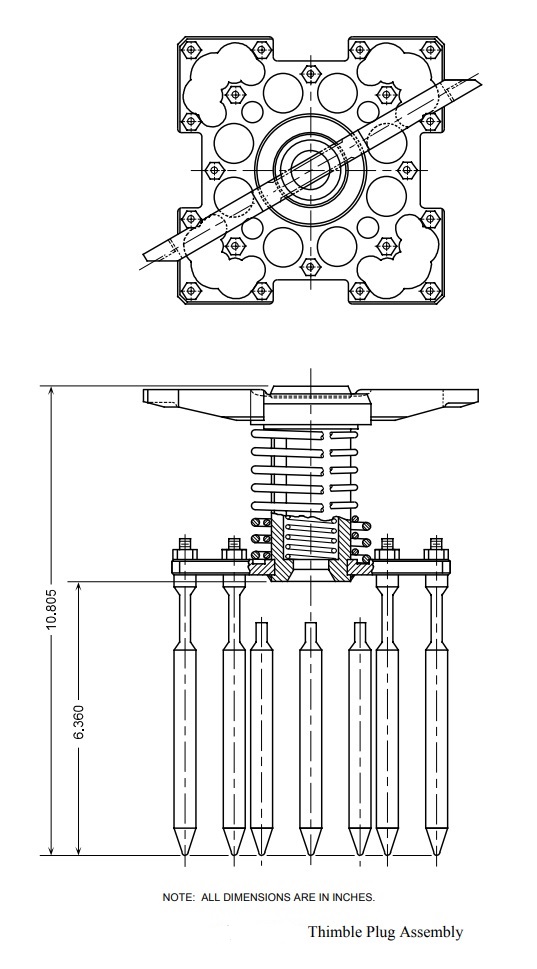
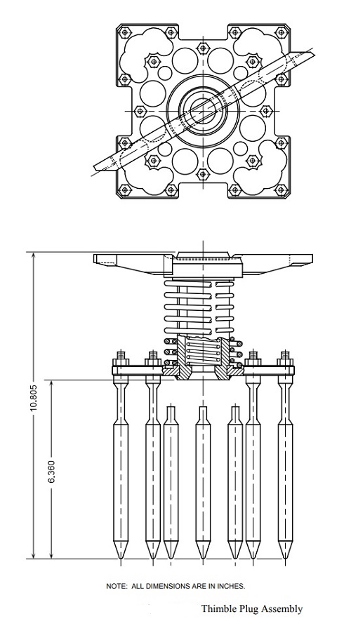
Речь идёт об устройстве под названием thimble plugging device (TPD). Установка его в реакторе блока "Byron-1" знаменует завершение исследовательского проекта, длившегося несколько лет.

TPD был выбран в качестве первого элемента для отладки технологии 3D-печати для реакторов. С одной стороны, это компонент, чей отказ приведёт к минимальным последствиям, с другой - компонент обладает сложной геометрией, что позволяет лучше отладить весь процесс применения аддитивных технологий.

Также в пользу TPD говорит и то обстоятельство, что при его изготовлении применяется материал, 3D-изделия из которого уже испытывались в исследовательском реакторе (сталь 316).

Следует отметить, что из сообщения американской компании нельзя заключить, был ли поставленный на АЭС "Byron" элемент полностью изготовлен методом 3D-печати.

В более ранних презентациях компании говорилось о гибридном проекте TPD, в котором применялись как аддитивные элементы из стали 316L, так и изготовленные традиционным образом элементы из стали 304.

Кроме того, в ранних презентациях "Westinghouse" планируемым сроком установки первого аддитивного TPD в коммерческий реактор считался 2018 год. О причинах задержки американская компания не сообщает.

Описание TPD.
Для просмотра щёлкните левой клавишей мыши.

Ключевые слова: Аддитивные технологии, США, Вестингауз, Статьи


Другие новости:

COVID-19 негативно повлиял на проект строительства завода по производству ядерного топлива в Казахстане

Информация по новым срокам окончания строительства будет раскрыта, когда станет известна.

Сроки сертифицирования в США АСММ NuScale сдвинуты из-за необходимости внести изменения в проект

Система САОЗ может срабатывать с запаздыванием.

Сроки строительства блоков №№3/4 АЭС "Vogtle" из-за коронавируса сдвинутся незначительно

Пуск четвёртого блока сдвинут на два месяца.

Герой дня

Александр Пименов: приближение к мечте

Александр Пименов: приближение к мечте

Мы оцениваем станции малой мощности с реакторной установкой "Шельф" весьма перспективными и надеемся увидеть их в железе. На мой взгляд, "Шельф" - ещё один этап приближения к "ядерной батарейке".



ИНТЕРВЬЮ

Карими Сабет

Карими Сабет
К счастью, сотрудничество иранских исследователей и экспертов в атомной области с соответствующими департаментами МАГАТЭ при выполнении совместных технических и научных проектов в прошлом году было отличным.


МНЕНИЕ

AtomInfo.Ru

AtomInfo.Ru
Под избыточным (surplus) плутонием в США понимают такой плутоний, для которого нет планов использования в той или иной программе и который не подпадает ни под одну из категорий резервов национальной безопасности.


Поиск по сайту: