ПРО для АЭС: обзор американских патентов

Современные атомные станции должны выдерживать падение авиалайнера и успешно противостоять его последствиям - например, большим пожарам. А идеальный вариант - если АЭС выживет и не будет разрушена после ракетного удара, напоминает в своём очередном обзоре американских патентов профессиональное издание Nuclear Street.

Концепции защитных структур патентовались в Соединённых Штатах задолго до появления глобальных террористических угроз. Один из первых патентов на эту тему был выдан 21 мая 1985 года под номером 4 518 561. В нём описана структура, окружающая гермооболочку реакторного здания и предназначенная для защиты блока от последствий ракетного удара. В её дополнительные задачи входило также придание блоку большей стабильности в случае землетрясения.

Патент от 1985 года

В патенте предполагается, что корпус реактора (16) установлен в бетонной или стальной шахте (14), которая, в свою очередь, соединена со структурой, названной в патенте "казематом" (18).

Вся система помещена внутрь контейнмента (4), выполненного из армированного или предварительно напряжённого бетона. С внутренней стороны бетонного контейнмента расположен стальной контейнмент (6), закрытый сверху куполом (8). Задача контейнментов - не допустить выхода радиоактивности из реакторного здания в случае аварии.

С внешней стороны бетонный контейнмент окружает кольцевое здание (20), выполненное из армированного бетона. Здание включает в себя цилиндрическую юбку (22) и крышу (24) - последняя соединяется с бетонным контейнментом (4).

Идея, которая защищается в патенте, состоит в следующем. По замыслу его авторов, здание (20) убережёт реакторный комплекс от разрушения после попадания ракеты, сравнимой по массе и скорости с военным самолётом.

Дополнительное преимущество у блока с кольцевым зданием может проявляться при землетрясениях. Так как вес блока теперь распределяется на большую площадь опоры, то система станет устойчивее к колебаниям и вибрациям, возникающим при землетрясении.

Внутренние структуры (29) в здании (20) намеренно отсоединены от юбки (22). Это гарантирует, что при попадании ракеты в здание импульс и энергия не будут переданы от юбки (22) к внутренним структурам (29) и далее к собственно реакторному зданию.

Патент от 2009 года

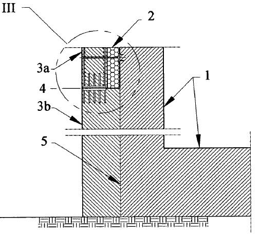
В новом патенте №7 578 103, выданном в США 25 августа 2009 года, рассматривается структура, способная поглотить энергию, которая выделится при попадании в блок ракеты или при падении самолёта.

Авторы идеи предлагают разделить основные структуры реакторного здания (1) от внешней защиты с передвижной верхней частью (3a) слоем (2), который заполнен композитным материалом. В состав внешней защиты входит также нижняя фиксированная часть (3b), соединённая якорями с передвижной частью (3a) через плиту (4).

При попадании ракеты в передвижную часть (3a), последняя начинает сдвигаться в сторону композитного слоя (2). При этом будет поглощена большая часть кинетической энергии ракеты. Якоря служат для сохранения общей целостности системы. Композитный слой (2) заполняется так называемой стабилизированной алюминиевой пеной (stabilized aluminum foam, SAF), хорошо держащим тепло и слабовозгораемым материалом.

SAF - недорогой композитный материал, производящийся путём добавления керамических частиц в расплавленный алюминий. В смесь подаются пузырьки воздуха или газа, после чего она охлаждается и затвердевает. Получившийся материал будет лёгким и сохраняющим свои физические свойства в широком диапазоне температур и давлений.

Патент "Вестингауза"

Первые два патента в обзоре описывают системы, не допускающие проникновения ракеты внутрь гермообъёма. Но возможно, что ракета всё-таки пройдёт через контейнмент, и в таком случае необходимо защитить от неё основное оборудование. Один из самых критических узлов реакторного здания, подлежащих приоритетному спасению - привода СУЗ.

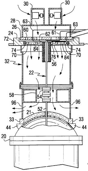
Противоракетная защита приводов СУЗ, созданная в "Вестингаузе" и защищённая патентом США №6 061 415 от 9 мая 2000 года, основывается на плите полиэдрической формы (164), сделанной из стали толщиной не менее 2 дюймов.

Стабильность плите придают многочисленные опоры (168), (170), (172), (180) и (182). Её назначение - защитить от попадания ракеты расположенные под плитой привода СУЗ. Для надёжной вентиляции и охлаждения последних в плите предусмотрены сквозные отверстия (162).

Взаимное расположение противоракетной защиты и приводов СУЗ в патенте "Вестингауза"

Как видно из рисунка, противоракетную плиту (26) проектанты "Вестингауза" расположили выше приводов СУЗ (22). Плита позволяет приводам сохранять работоспособность после ракетного удара по блоку, но одновременно уменьшает воздушный объём рядом с приводами.

Исправить положение призваны вентиляторы (30). Они находятся выше плиты (26) и обеспечивают движение воздушных масс к приводам через вентотверстия (60). Для выхода потоков воздуха из системы предусмотрены люки (96).

Расположение вентиляторов выше защиты означает, что они будут уничтожены или выведены из строя при ракетном ударе. По всей видимости, авторы патента считают, что после попадания ракеты внутрь контейнмента образуется достаточное количество дыр, что позволит обойтись без принудительной циркуляции воздуха на привода.

Патент HOLTEC

Свой вклад в противоракетную оборону объектов американской атомной отрасли вносит компания "Holtec". Но, по роду своей деятельности, её более беспокоит защита от ракетных обстрелов контейнеров с ОЯТ.

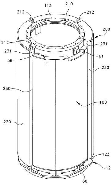
6 августа 2009 года была опубликована патентная заявка №20090198092, посвящённая описанию концепции контейнера для ОЯТ со встроенной системой противоракетной защиты.

Чертёж из заявки показывает втулкообразную ракетную защиту (200), "намотанную" на контейнер (100) с выгоревшим топливом. Защита сделана из слоя стали или свинца толщиной не менее 5 дюймов. Попутно она задерживает выходящие из контейнера потоки гамма-лучей.

На верху защиты (200) сидит кольцевая плита (210) с центральным отверстием. При такой конструкции, между контейнером и защитой создаётся зазор, обеспечивающий циркуляцию воздуха и отвод остаточного тепловыделения от контейнера.

ИСТОЧНИК: AtomInfo.Ru

ДАТА: 13.02.2010

Темы: США, УКФЗ


Rambler's Top100