Трудно сказать, состоится или нет ядерный ренессанс в Соединённых Штатах. Но пока политики и бизнесмены пребывают в раздумьях, американские атомные компании методично защищают патентами свою интеллектуальную собственность - в надежде, разумеется, на лучший для себя исход околоатомных споров.
Свой очередной обзор патентов США профессиональное издание Nuclear Street посвящает компании "Global Nuclear Fuel-Americas" (GNFA). Созданная в 2001 году как совместное предприятие GE, "Hitachi" и "Тошибы", эта фирма подала десятки патентных заявок и получила в итоге 29 патентов в различных областях атомной энергетики.
Некоторые из них касаются моделирования процессов, происходящих в ядерных реакторах. Патент №7 620 139 "Метод улучшения параметров реактора в ходе эксплуатации", выданный 17 ноября 2009 года, описывает моделирование эффектов, возникающих при введении в активную зону стержней управления.
В мае этого года GNFA получила патент №7 532 698. В нём защищается предложенный компанией метод определения, сколько нейтронов родится и сколько будет потеряно в зависимости от различных реакторных параметров. А в свежевыданном патенте №7 613 272 предложен метод планирования перегрузок, исходя из ограничений, которые накладываются характеристиками топливных кассет.
Помимо расчётных методов, компания не забывает и о совершенствовании конструкции кассет. В патентной заявке №20090022259, опубликованной 22.01.2009, упоминаются различные покрытия оболочек твэлов BWR, призванные не допускать разгерметизации стержней и выхода в первый контур радиоактивных продуктов деления.
В заявке предлагается покрывать внешние поверхности оболочек твэлов слоем металла толщиной от 25 до 175 микрон. В качестве материала покрытия могут быть выбраны NiCrAlY, NiCr, FeCrAlY, FeCr или любая комбинация из перечисленных сплавов. Благодаря хорошим адгезивным свойствам этих материалов, к ним возможно присоединять и другие добавки - керамику или оксиды металлов.
То, что получается в результате этих манипуляций, называется керметным слоём. Разнообразные керметные композиции привлекают к себе в наши дни большое внимание, а их пропоненты называют их одним из самых перспективных направлений в атомной энергетике. Задача керметного слоя в заявке GNFA более скромна - от него требуется всего лишь повысить коррозионную стойкость и прочность оболочек твэлов.
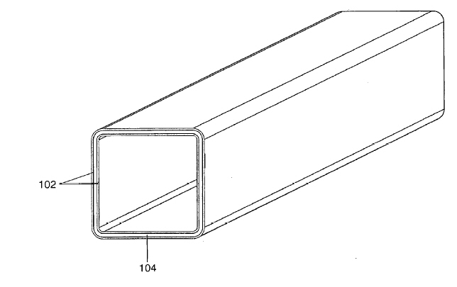
Следующая патентная заявка, поданная GNFA в ноябре этого года и зарегистрированная под номером 20090285350, свидетельствует о том, что компания всерьёз задумывается над подбором покрытий для оболочек твэлов и ТВС. В ней говорится о трёхслойных оболочках квадратных кассет. По замыслу авторов, внутренний слой (104) должен быть нечувствительным к радиационным эффектам, в то время как внешние слои (102) должны противостоять коррозии.
В заявке перечислено большое количество сплавов, которые могут быть выбраны в качестве материалов для слоёв (104) и (102). Например, внутренний слой может состоять из циркониевого сплава, содержащего 0,6-1,4% Nb, 0,2-0,5% Fe и 0,5-1,0% Sn, в то время как внешние - также из сплава на основе циркония, но с добавкой 0,4-2,0% Sn, 0,1-0,6% Fe и 0,01-1,2% Cr.
Общая идея для всех перечисленных в заявке комбинаций материалов такова. Содержание ниобия во внутреннем слое должна быть больше, чем во внешних.
Схематичное изображение трёхслойной квадратной ТВС

Патентная заявка №20060048869 должна, в случае принятия, закрепить за GNFA интеллектуальные права на новый метод изготовления трубок из циркалоя-2 или циркалоя-4, не задействующий термомеханическую обработку при высоких температурах.
Помимо непосредственного выигрыша от упрощения производственного процесса, дополнительной выгодой станет увеличение среднего размера зерна циркониевого сплава. Компания считает, что в крупнозернистом цирконии будут медленнее происходить все процессы, связанные с изменением микроструктуры, и это увеличит ресурс работы оболочек.
Интересно, что эту заявку GFNA подала пять лет назад и получила отказ, так как американское патентное бюро сочло её "слишком очевидной". Но компания не сдалась и обратилась с апелляцией в агентство BPAI - высший арбитражный орган в американском патентном деле. Такая настойчивость показывает, что компания относится к данной своей разработке с должным вниманием.
Ещё одна оспариваемая в BPAI заявка №20080089461 носит название "Топливные стержни для кассет ядерных реакторов и методы их производства". Её изюминкой, с точки зрения компании, является идея твэла, составленного из таблеток с различной концентрацией UO2. Загрузка таких твэлов в реактор позволит увеличить кампанию топлива.
Анализ патентов и патентных заявок GNFA показывает, что современные атомные компании подходят комплексно к защите своих интеллектуальных прав и стараются не забывать ни об одном аспекте, будь то расчётные методы или производственные технологии.
ИСТОЧНИК: AtomInfo.Ru
ДАТА: 10.12.2009