Американские патенты на ВТГР - штопоры СУЗ и алмазные твэлы

Очередной обзор американских патентов от профессионального издания Nuclear Street посвящён высокотемпературным реакторам.

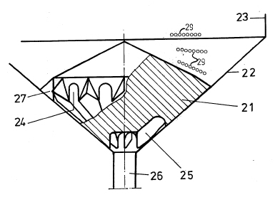
Большинство первых американских патентов, связанных с технологией ВТГР, выросли из германского реактора AVR, построенного и эксплуатировавшегося в Юлихе. Так, патент №3 960 656, выданный 1 июня 1976 года, описывает активную зону в форме воронки. Микротвэлы (29) засыпаются в неё сверху и затем постепенно проходят к нижнему выходу (26), предназначенному для выхода из зоны выгоревших топливных элементов.

Американский патент 1976 года

Проектанты любого реактора с шаровой засыпкой обязаны поломать голову над тем, как обеспечить надёжный ввод в активную зону стержней управления и защиты и при этом не повредить твэлы. Способы, найденные по итогам конструирования и эксплуатации реактора AVR, были запатентованы в США германскими компаниями.

В патенте №3 971 444 от 27.07.1976, принадлежащем германской корпорации HKG, описывается концепция реактора с шаровыми твэлами различного диаметра. Это позволяет уменьшить механическое воздействие на твэлы при перемещении стержней, так как в засыпке с разными по размерам твэлами остаётся больше свободного пространства между шарами.

Патент HKG на реакторы с шаровыми твэлами различного диаметра

Стержни СУЗ не обязательно должны быть прямыми, считают авторы патента №4 010 070, выданного 1 марта 1977 года германской компании "Interatom Internatioinale Atomreaktorbau GmbH". Они защитили идею спирального стержня (1), содержащего поглотитель (1a). Стержень должен вкручиваться в активную зону, наподобие штопора - при этом твэлы будут отбрасываться от нижней части стержня (2) без механических повреждений.

Германский стержень-штопор СУЗ

В Соединённых Штатах над концепцией двухзонного реактора с шаровыми твэлами длительное время работают в известном институте MIT, правда, без малейшего намерения когда-либо построить такой аппарат.

8 марта 2005 года MIT получил патент США №6 865 245. В нём описывается реактор, состоящий из центральной колонны (10) с шаровыми графитовыми отражателями, окружённой топливными шарами (18), сделанными из уранового диоксида в графитовой оболочке.

Центральная колонна-отражатель замедляет нейтроны, попадающие в неё из топливной зоны, и возвращает их обратно. Подобная конструкция обеспечивает сверхтонкую регулировку поля энерговыделения, что, в свою очередь, помогает достигать высоких выгораний.

Операторы двухзонного реактора могут увеличивать, уменьшать или даже полностью выгружать графитовые шары из центральной колонны, влияя на спектр нейтронов в установке.

Реактор с центральной колонной от MIT

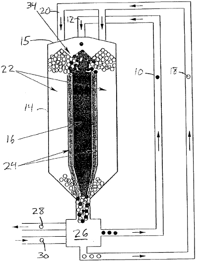
Энтузиасты считают, что реакторы с шаровыми твэлами идеальным образом подходят для создания компактных АЭС. Компания "Adams Atomic Engines, Inc." имеет патент №5 309 492 от 03.05.1994, в котором представлена закрытая газотурбинная система, в которой производится нагрев воздуха с помощью реактора с шаровыми твэлами.

После открытия дроссельного клапана (14), гелий, нагреваемый в активной зоне (62) реактора, будет попадать прямо на турбину (18). Чем больше открывается задвижка клапана, тем быстрее вращается турбина.

Останов реактора происходит естественным образом, благодаря нейтронно-физическим свойствам активной зоны. После того, как клапан (14) будет закрыт, циркуляция гелия в системе прекратится. Температура в активной зоны начнёт возрастать, а реактивность и мощность - падать из-за подобранного отрицательного Доплер-эффекта.

Газотурбинный патент 1994 года

Компания PBMR из Южной Африки считается на сегодня одним из мировых лидеров по реакторам ВТГР. Хотя южноафриканцы так и не построили ни одного высокотемпературного реактора, они с большим удовольствием подают заявки на американские патенты.

15 ноября 2008 года была опубликована заявка №20070263762, поданная PBMR. Она описывает модифицированное топливо TRISO с внешним алмазным покрытием толщиной 40 μм. Из нескольких тысяч микроэлементов с алмазным покрытием собирается одна сфера с размером побольше, на которую также наносится алмазное покрытие толщиной 240 μм.

Подобный алмазный твэл, состоящий из тысяч алмазных микротвэлов, в состоянии выдерживать давления до 4,35 млн фунтов на квадратный дюйм (около 3×1010 Па). Алмазное покрытие делает твэлы более устойчивыми к окислению и снижает количество пыли, которая образуется в шаровых засыпках вследствие механического истирания твэлов друг об друга.

Простым алмазным покрытием компания PBMR не удовлетворилась. 26 марта 2009 года она подала патентную заявку №20090080591 с новым предложением по составу оболочки шарового топлива. На сей раз, оно состоит из фторированной смеси кремния, карбида кремния, магния и алмаза. Африканцы утверждают, что подобная конструкция не допустит выхода продуктов деления наружу при температурах вплоть до 1900°C.

Но и этого PBMR оказалось мало. Спустя два месяца, 21 мая 2009 года, компания подала заявку №20090129533, где предложила всё вновь переделать. Новая конструкция твэла состоит из ядра (12) с диоксидом урана, окружённого семью слоями пирографита (16), между которыми проложены шесть слоёв карбида кремния (18).

Толщина каждого из слоёв не превышает 10 μм. Более того, между каждыми слоями создаются переходные зоны толщиной 2-4 μм, состоящие, как нетрудно догадаться, из смеси пирографита и карбида кремния.

По словам авторов патентной заявки, слоёная структура оболочки шарового твэла будет способна выдерживать давление до 58 015 фунтов на квадратный дюйм (около 400 млн Па) при температурах до 1800°C в течение 30 суток.

Слоёное топливо от PBMR

ИСТОЧНИК: AtomInfo.Ru

ДАТА: 30.11.2009

Темы: США, ВТГР, PBMR


Rambler's Top100