
С любезного разрешения автора, мы публикуем текст доклада "Реализация концепции модернизации СВРК ВВЭР-1000 АЭС Украины на базе ПО "Круиз", представленного на международном симпозиуме "Измерения, важные для безопасности реакторов".
Автор доклада - технический директор инновационной фирмы "СНИИП Атом" Александр Валерьевич БЫКОВ.
Аннотация
В соответствии с утвержденной ГП НАЭК "Энергоатом" концепцией модернизации СВРК ВВЭР-1000 на АЭС Украины, проводится поэтапное развитие расчётного ядра СВРК на базе программного обеспечения "Круиз". К настоящему времени, расчётное ядро на базе ПО СВРК "Круиз" введено в эксплуатацию на 5 ВВЭР-1000 Украины. В докладе в рамках реализации концепции модернизации СВРК ВВЭР-1000 рассматривается сделанная работа, текущее состояние и планы развития расчётных функций ПО СВРК.
Введение
Концепция модернизации СВРК ВВЭР-1000 на АЭС Украины была разработана ЗАО "СНПО "Импульс", г.Северодонецк, с учётом опыта модернизации СВРК на АЭС в России [1-2] и результатов сопоставительных испытаний макетов ПО СВРК на блоках №3 Запорожской АЭС и №3 Южно-Украинской АЭС.
По результатам сопоставительных испытаний в качестве основного варианта ПО для модернизации СВРК ВВЭР-1000 было выбрано ПО "Круиз". При этом НАЭК "Энергоатом" были продолжены работы по внедрению на блоке 2 Хмельницкой АЭС альтернативного выбранному варианту ПО "Хортица-М", а на блоке 3 Южно-Украинской АЭС в рамках совместного украинско-американского проекта по квалификации ядерного топлива была продолжена модернизация СВРК на базе ПО BEACON™, разработанного фирмой "Вестингауз".
Таким образом, эксплуатирующая организация получила референтный опыт эксплуатации ПО СВРК различных поставщиков на однотипных энергоблоках.
В качестве первой площадки для модернизации СВРК с использованием ПО "Круиз" был выбран блок 4 Ровенской АЭС, на котором после завершения предварительных и автономных испытаний в конце 2004 года СВРК-М с ПО "Круиз" была введена в эксплуатацию.
Общая задача развития ПО СВРК "Круиз" - повышение качества контроля активной зоны ВВЭР и обеспечение возможности эксплуатации активной зоны по её текущему состоянию.
После получения первого референтного опыта эксплуатации модернизированных СВРК ГП НАЭК "Энергоатом" была разработана и в августе 2005 года утверждена "Концепция модернизации и сопровождения эксплуатации СВРК-М АЭС Украины".
Основные особенности ПО "Круиз"
Одновременно на энергоблоках ВВЭР России, Украины и Словакии нами проводится модернизация СВРК, направленная на контроль эксплуатации по локальным параметрам. Так на АЭС "Моховце" для обеспечения возможности эксплуатации активной зоны по текущему состоянию было выполнено:
Основные положения "Концепции модернизации …"
В части оборудования применяется оборудование СВРК-М (ЗАО "СНПО "Импульс"", г.Северодонецк), с дальнейшей его модернизацией.
Основные положения концепции в части реализации в СВРК ВВЭР-1000 расчётных функций:
Базовый вариант (РАЭС-4). Структура.
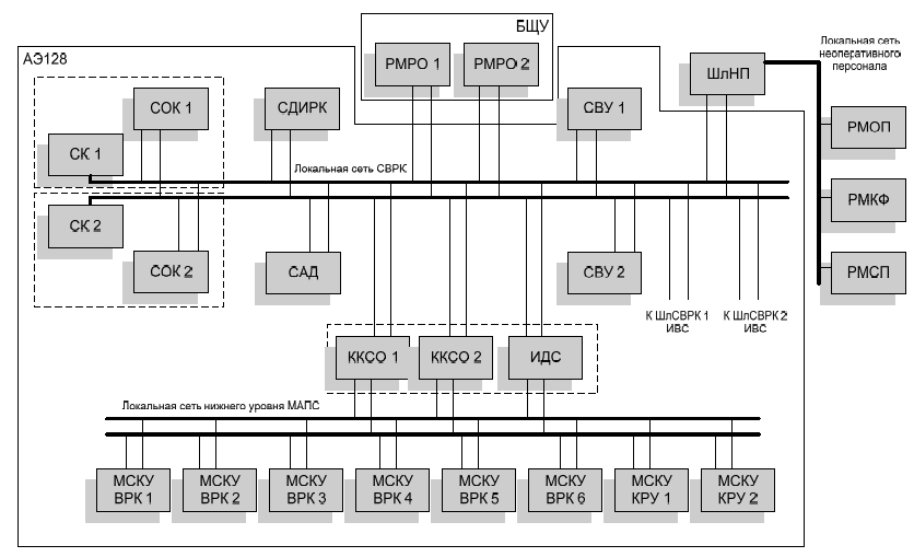
Структура СВРК-М, реализованной в виде распределенной локальной сети, приведена на Рис.1. Основными узлами, на которых функционирует ПО "Круиз", являются сервера оперативного контроля (СОК) и сервера верхнего уровня (СВУ). На базе ПО "Круиз" также было реализовано рабочее место контролирующего физика (РМКФ) и рабочее место операторов-технологов на БЩУ (РМРО).
Структурная схема базового варианта СВРК-М.
Для просмотра в полный размер щёлкните левой клавишей мыши.
Базовый вариант. Основные функции.
СВРК-М предназначена для непрерывной круглосуточной эксплуатации в составе РУ ВВЭР-1000 в режимах нормальной эксплуатации и в режимах с нарушением нормальной эксплуатации и обеспечивает выполнение следующих функций:
Базовый вариант. Основные особенности реализации.
Предусмотренные Концепцией направления развития ПО ВК СВРК, выполненные к настоящему моменту
Контроль средств воздействия на реактивность реализован в части контроля достоверности положения ОР СУЗ по показаниям ДПЗ.
Уменьшение вероятности отказа по общей причине дублированных вычислительных комплексов за счёт внедрения мультиплатформенной версии ПО "Круиз" реализовано. В настоящее время ПО "Круиз" функционирует под ОС Windows (РАЭС-4, ХАЭС-1) и под ОС Linux (остальные энергоблоки), однако дублирование ОС не востребовано Заказчиком. В настоящее время дублированные узлы СВРК функционируют под управлением одинаковых операционных систем.
Начата интеграция СВРК и ИВС в части информационных потоков, к настоящему моменту реализован обмен информацией между СВРК и ИВС, данная информация будет использована при внедрении системы режимной диагностики энергоблока.
Основные направления развития СВРК
Обеспечение надёжности
Первый пункт в расшифровке не нуждается, приведём более подробную информацию по остальным пунктам.
Анализ достоверности входных данных
Тестирование с использованием программных имитаторов нештатных ситуаций
Разработаны методы валидации ПО СВРК с использованием имитатора нештатных ситуаций. Разработан имитатор ошибок входных данных, позволяющий моделировать ошибки модели и измерений. Предусмотрена возможность имитации как постоянных, так и изменяющихся во времени ошибок.
Применявшиеся при внедрении базового варианта ПО "Круиз" на 4 блоке РАЭС методика и результаты тестирования программ восстановления поля энерговыделения с имитацией постоянных во времени ошибок модели и измерений были изложены в докладе "Оценка влияния эксплуатационных факторов и ошибок модели на достоверность восстановления поля энерговыделения в ПО "Круиз" на примере блока 4 Ровенской АЭС".
Данный доклад будет впоследствии также опубликован на AtomInfo.Ru.
Имитатор ошибок входных данных является также мощным средством для тестирования вновь разрабатываемых функций.
Так, в дополнение к отбраковке по воротам и по скорости изменения, разработана и внедрена в ПО "Круиз" отбраковка показаний отдельных ДПЗ по совокупности показаний ДПЗ в активной зоне. Идея данной отбраковки состоит в том, что реакция ДПЗ на изменение состояния активной зоны должна быть самосогласованной и рассогласование показаний датчика от их совокупности выше определённой границы является критерием для его отбраковки.
Реакция восстановленного ПО "Круиз" поля энерговыделения на изменяющуюся во времени ошибку канала измерения тока отдельного ДПЗ приведена на Рис.2.
Рис.2. Изменение поля в ПО "Круиз" в ТВС с КНИ при имитации одновременного отказа всех ДПЗ одиночного КНИ (7 ДПЗ).
Для просмотра в полный размер щёлкните левой клавишей мыши.
На архивных данных стационарного состояния энергоблока была запущена пилообразная модуляция токов всех ДПЗ КНИ №47 (ячейка 57). На рисунке показан пример реакции ПО "Круиз" на поступающие недостоверные данные (как ток ДПЗ, так и значения Kv на рисунке отнормированы на их стационарные значения). На рисунках отмечены следующие моменты:
Ниже приведена аналогичная картина для случая имитации отказа только ДПЗ №5 того же КНИ. Как видно из приведенных графиков, реакция алгоритма восстановления поля энерговыделений на недостоверные показания ДПЗ в слоях, контролируемых данным ДПЗ, имеет тот же характер, что и в предыдущем случае. Однако для соседних слоев (на рисунке - для слоя 9) реакция на недостоверные показания ДПЗ практически отсутствует, что обусловлено достоверностью показаний соседнего с "отказавшим" ДПЗ №4 того же КНИ.
Рис.3. Изменение поля в ПО "Круиз" в ТВС с КНИ при имитации отказа одного ДПЗ.
Для просмотра в полный размер щёлкните левой клавишей мыши.
Таким образом, при эксплуатации ПО "Круиз" в тестовом режиме реализована возможность выборочного искажения измеренной информации (как по отдельным датчикам, так и по их совокупности), что позволяет имитировать различные виды отказов измерительных каналов СВРК и совершенствовать ПО с целью обнаружения таких отказов.
Принцип разнообразия
Обоснование точности основных расчётов
Для ЗАЭС-3 разработана методика метрологической аттестации расчёта тепловой мощности. Точность определяется расчётным путем на основании определенных метрологической службой ЗАЭС погрешностей каналов прямых измерений.
Точность восстановления поля энерговыделения проверялась:
Для строгого в метрологическом смысле обоснования точности восстановления поля энерговыделения актуальна подготовка набора тестовых состояний (и, возможно, переходных процессов) активной зоны с использованием прецизионных кодов.
Заключение
Усовершенствование СВРК на базе ПО "Круиз" обеспечивает возможность эксплуатации активной зоны ВВЭР по текущему состоянию и создает условия для повышения эффективности эксплуатации АЭС с ВВЭР.
Перечень литературы:
ИСТОЧНИК: Александр Быков
ДАТА: 27.04.2009
Темы: СВРК, СНИИП, Статьи, Александр Быков, Украина